由我司董事長吳如軍先生帶領技術研發團隊共同研發的“一種立交橋樁基托換結構”于2022年02月11日獲中華人民共和國國家知識產權局授予實用新型專利證書。專利號:ZL 2021 2 1536549.4

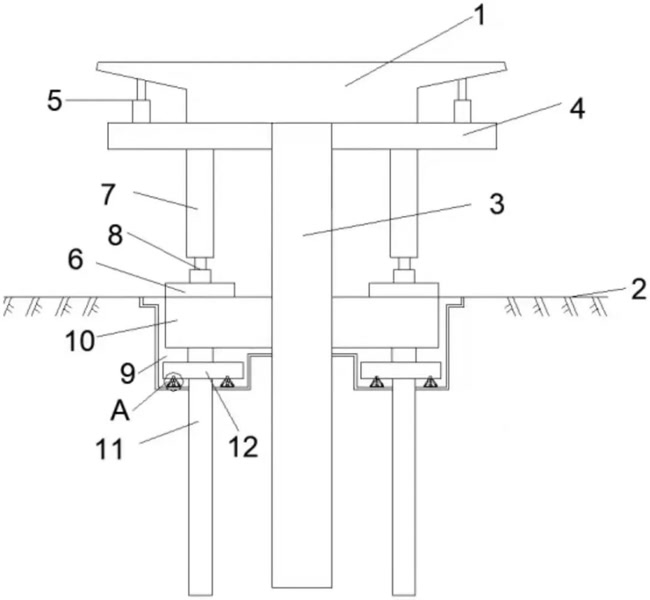
本實用新型公開了一種立交橋樁基托換結構,包括:立交橋梁,立交橋梁下端安裝有:橋墩托換結構、橋墩上部臨時支撐結構、地基托換支撐結構,橋墩托換結構和立交橋梁連接,橋墩上部臨時支撐結構、地基托換支撐結構分別與橋墩托換結構連接,地基托換支撐結構埋于地平面下方,本實用新型結構受力明確,與原有下部結構無關聯,可以保證施工的安全性。

勝特公司將繼續立足新起點,聚焦公司科技發展戰略,解決建筑物加固改造、托換糾傾等等特種領域中面臨的核心技術和“瓶頸”難題,為社會及公司高質量發展提供科技支撐。另外還有多項發明專利申報中……
專利應用案例
廣州市軌道交通十一號線彩虹橋站~中山八站區間樁基托換頂升工程
更多案例詳見工程欄目












