我司又一項實用新型專利獲得國家知識產權局授權,此項專利名稱為“一種用于橋梁下方新建隧道的樁基托換結構”,專利號為ZL 2021 2 1982500.1

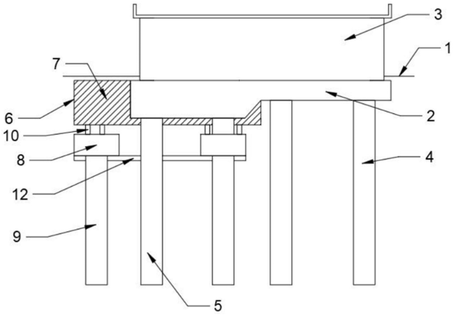
本實用新型公開了一種用于橋梁下方新建隧道的樁基托換結構,包括:承臺,所述承臺埋設于地面內,所述承臺底端設有樁基和被托換樁基,所述承臺頂端設有橋臺;托換結構,所述托換結構埋設于所述地面內,所述托換結構設于所述承臺的一側。通過托換結構在現有的承臺上進行托換,使得托換結構可以在各種條件下對既有的基礎進行托換,以使得新修的地下隧道順利穿過。

一直以來,公司著重對科研的投入力度,積極開展技術創新工作。這些專利成果為公司今后的發展積蓄了前進的動力,進一步提升了公司科技技術含量,為公司的發展提供了強有力的科技支撐。









